|
Pressione/MPa |
Temperatura/°C |
Velocità/m/s |
Medio |
|
≤40 |
-35~+100 (con O-ring NBR corrispondenti) |
≤2 |
Olio idraulico, emulsione, acqua, gas, ecc. |
-20~+200 (con O-ring FKM corrispondenti) |
1. I materiali adatti per gli O-ring includono: gomma nitrile butadiene R01 (NBR), gomma fluorurata R02 (FKM), ecc.
2. Materiali dell'anello di tenuta: Materiali standard PTFE3 e PTFE4; altri materiali opzionali includono PTFE1, PTFE2 e PTFE5.
Ruichen ha svolto attività di ricerca, sviluppo e produzione indipendenti fin dall'inizio delle materie prime, realizzando il controllo dell'intera catena di prodotti.
1. Tecnologie plastiche e materiali compositi: prendiamo il politetrafluoroetilene (PTFE) come nucleo, dalla miscelazione, sinterizzazione allo stampaggio, produzione indipendente di tutti i tipi di tubi e aste in materiali compositi modificati riempiti e quindi lavorazione di precisione in guarnizioni. Ciò garantisce stabilità e personalizzazione delle proprietà del materiale.
2. Elastomero poliuretanico ad alte prestazioni: partiamo dalla fusione del prepolimero, produciamo in modo indipendente materiali per tubi e aste in poliuretano di alta qualità e li trasformiamo in vari tipi di guarnizioni, che sono eccezionali in termini di resistenza all'usura, resistenza alla pressione e resistenza all'idrolisi.
Esempio di ordinazione
Modello d'ordinazione RC2054—80×69×4.2—PTFE3—R01 Modello-D*d*L- Codice materiale Modello d'ordinazione RCX18—80×69x4.2—HPU Modello-D*d*L- Codice materiale
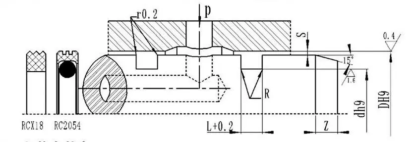
Tabella delle specifiche e dei parametri (è disponibile qualsiasi specifica all'interno dell'intervallo dei parametri)
|
Gamma di apertura DH9 |
Diametro della trincea dh9 |
Larghezza della trincea L+0,2 |
Gioco radiale Smax |
Angoli arrotondati Rmax |
Smussare Zmin |
|
|
0~10 MPa |
10~20 MPa |
|||||
|
8~39 |
D-4.9 |
2.2 |
0.15 |
0.1 |
0.4 |
2 |
|
40~79 |
D-7.5 |
3.2 |
0.2 |
0.15 |
0.6 |
3 |
|
80~132 |
D-11.0 |
4.2 |
0.25 |
0.2 |
1.0 |
4 |
|
133~329 |
D-15.5 |
6.3 |
0.3 |
0.25 |
1.3 |
5 |
|
330~669 |
D-21.0 |
8.1 |
0.3 |
0.25 |
1.8 |
7 |
|
670~1500 |
D-28.0 |
9.5 |
0.45 |
0.3 |
2.0 |
8 |
|
D |
d |
L |
D |
d |
L |
D |
d |
L |
D |
d |
L |
|
8 |
3.1 |
2.2 |
50 |
42.5 |
3.2 |
170 |
154.5 |
6.3 |
380 |
359.0 |
8.1 |
|
10 |
5.1 |
2.2 |
55 |
47.5 |
3.2 |
180 |
164.5 |
6.3 |
390 |
369.0 |
8.1 |
|
12 |
7.1 |
2.2 |
60 |
52.5 |
3.2 |
190 |
174.5 |
6.3 |
400 |
379.0 |
8.1 |
|
14 |
9.1 |
2.2 |
63 |
55.5 |
3.2 |
200 |
184.5 |
6.3 |
420 |
399.0 |
8.1 |
|
15 |
10.1 |
2.2 |
65 |
57.5 |
3.2 |
210 |
194.5 |
6.3 |
450 |
429.0 |
8.1 |
|
16 |
11.1 |
2.2 |
70 |
62.5 |
3.2 |
220 |
204.5 |
6.3 |
480 |
459.0 |
8.1 |
|
18 |
13.1 |
2.2 |
75 |
67.5 |
3.2 |
230 |
214.5 |
6.3 |
500 |
479.0 |
8.1 |
|
20 |
15.1 |
2.2 |
80 |
69.0 |
4.2 |
240 |
224.5 |
6.3 |
520 |
499.0 |
8.1 |
|
22 |
17.1 |
2.2 |
85 |
74.0 |
4.2 |
250 |
234.5 |
6.3 |
550 |
529.0 |
8.1 |
|
24 |
19.1 |
2.2 |
90 |
79.0 |
4.2 |
260 |
244.5 |
6.3 |
600 |
579.0 |
8.1 |
|
25 |
20.1 |
2.2 |
95 |
84.0 |
4.2 |
270 |
254.5 |
6.3 |
630 |
609.0 |
8.1 |
|
28 |
23.1 |
2.2 |
100 |
89.0 |
4.2 |
280 |
264.5 |
6.3 |
650 |
629.0 |
8.1 |
|
30 |
25.1 |
2.2 |
105 |
94.0 |
4.2 |
290 |
274.5 |
6.3 |
670 |
642.0 |
9.5 |
|
32 |
27.1 |
2.2 |
110 |
99.0 |
4.2 |
300 |
284.5 |
6.3 |
700 |
672.0 |
9.5 |
|
35 |
30.1 |
2.2 |
115 |
104.0 |
4.2 |
310 |
294.5 |
6.3 |
750 |
722.0 |
9.5 |
|
36 |
31.1 |
2.2 |
120 |
109.0 |
4.2 |
320 |
304.5 |
6.3 |
800 |
772.0 |
9.5 |
|
38 |
33.1 |
2.2 |
125 |
114.0 |
4.2 |
330 |
309.0 |
8.1 |
1000 |
972.0 |
9.5 |
|
40 |
32.5 |
3.2 |
130 |
119.0 |
4.2 |
340 |
319.0 |
8.1 |
|
|
|
|
42 |
34.5 |
3.2 |
140 |
124.5 |
6.3 |
350 |
329.0 |
8.1 |
|
|
|
|
45 |
37.5 |
3.2 |
150 |
134.5 |
6.3 |
360 |
339.0 |
8.1 |
|
|
|
|
48 |
40.5 |
3.2 |
160 |
144.5 |
6.3 |
370 |
349.0 |
8.1 |
|
|
|
Nota: le specifiche richieste non sono elencate qui; si prega di contattare la nostra azienda. Offriamo prodotti con un diametro massimo di 2800 mm.



Indirizzo
No.1 Ruichen Road, parco industriale di Dongliuting, distretto di Chengyang, città di Qingdao, provincia di Shandong, Cina
tel