|
Pressione/MPa |
Temperatura/°C |
Velocità/m/s |
Medio |
|
≤40 |
-35~+100 (con O-ring NBR) |
≤2 |
Olio idraulico, emulsione, acqua, gas, ecc. |
|
-20~+200 (con O-ring FKM) |
1. Materiali O-ring disponibili: gomma nitrile butadiene R01 (NBR), gomma fluorurata R02 (FKM), ecc.
2. Materiali dell'anello di tenuta: Materiali standard PTFE3 e PTFE4; altri materiali opzionali includono PTFE1, PTFE2 e PTFE5.
Esempio di ordinazione
Modello d'ordinazione RC2052—80x91×4.2—PTFE3—R01 Modello-dxDxL- Codice materiale
Modello d'ordinazione RCX17—80x91×4.2—Modello HPU-dxDxL- Codice materiale
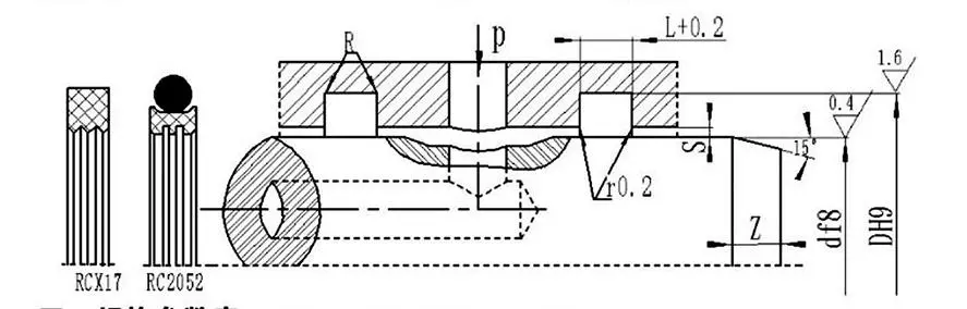
Tabella delle specifiche e dei parametri (è disponibile qualsiasi specifica all'interno dell'intervallo dei parametri)
|
Gamma di diametri dell'albero d f8 |
Diametro della trincea DH9 |
Larghezza della trincea L+⁰.2 |
Gioco radiale Smax |
Angoli arrotondati Rmax |
Smussare Zmin |
|
|
0~10 MPa |
10~20 MPa |
|||||
|
6~18 |
d+49 |
2.2 |
0.15 |
0.1 |
0.4 |
2 |
|
19~37 |
d+7,5 |
3.2 |
0.2 |
0.15 |
0.6 |
3 |
|
38~199 |
d+11.0 |
4.2 |
0.25 |
0.2 |
1.0 |
4 |
|
200~255 |
d+15,5 |
6.3 |
0.3 |
0.25 |
1.3 |
5 |
|
256~649 |
d+21.0 |
8.1 |
0.3 |
0.25 |
1.8 |
7 |
|
650~1500 |
d+28.0 |
9.5 |
0.45 |
0.3 |
2.0 |
8 |
Nota: per diametri albero ≤ 30 mm, si consigliano scanalature aperte.
|
d |
D |
L |
d |
D |
L |
d |
D |
L |
d |
D |
L |
|
8 |
12.9 |
2.2 |
48 |
59.0 |
4.2 |
150 |
161.0 |
4.2 |
350 |
371.0 |
8.1 |
|
10 |
14.9 |
2.2 |
50 |
61.0 |
4.2 |
160 |
171.0 |
4.2 |
360 |
381.0 |
8.1 |
|
12 |
16.9 |
2.2 |
55 |
66.0 |
4.2 |
170 |
181.0 |
4.2 |
370 |
391.0 |
8.1 |
|
14 |
18.9 |
2.2 |
60 |
71.0 |
4.2 |
180 |
191.0 |
4.2 |
380 |
401.0 |
8.1 |
|
15 |
19.9 |
2.2 |
63 |
74.0 |
4.2 |
190 |
201.0 |
4.2 |
390 |
411.0 |
8.1 |
|
16 |
20.9 |
2.2 |
65 |
76.0 |
4.2 |
200 |
215.5 |
6.3 |
400 |
421.0 |
8.1 |
|
18 |
22.9 |
2.2 |
70 |
81.0 |
4.2 |
210 |
225.5 |
6.3 |
420 |
441.0 |
8.1 |
|
20 |
27.5 |
3.2 |
75 |
86.0 |
4.2 |
220 |
235.5 |
6.3 |
450 |
471.0 |
8.1 |
|
22 |
29.5 |
3.2 |
80 |
91.0 |
4.2 |
230 |
245.5 |
6.3 |
480 |
501.0 |
8.1 |
|
24 |
31.5 |
3.2 |
85 |
96.0 |
4.2 |
240 |
255.5 |
6.3 |
500 |
521.0 |
8.1 |
|
25 |
32.5 |
3.2 |
90 |
101.0 |
4.2 |
250 |
265.5 |
6.3 |
520 |
541.0 |
8.1 |
|
28 |
35.5 |
3.2 |
95 |
106.0 |
4.2 |
260 |
281.0 |
8.1 |
550 |
571.0 |
8.1 |
|
30 |
37.5 |
3.2 |
100 |
111.0 |
4.2 |
270 |
291.0 |
8.1 |
600 |
621.0 |
8.1 |
|
32 |
39.5 |
3.2 |
105 |
116.0 |
4.2 |
280 |
301.0 |
8.1 |
630 |
651.0 |
8.1 |
|
35 |
42.5 |
3.2 |
110 |
121.0 |
4.2 |
290 |
311.0 |
8.1 |
650 |
678.0 |
8.1 |
|
36 |
43.5 |
3.2 |
115 |
126.0 |
4.2 |
300 |
321.0 |
8.1 |
670 |
698.0 |
9.5 |
|
38 |
49.0 |
4.2 |
120 |
131.0 |
4.2 |
310 |
331.0 |
8.1 |
700 |
728.0 |
9.5 |
|
40 |
51.0 |
4.2 |
125 |
136.0 |
4.2 |
320 |
341.0 |
8.1 |
750 |
778.0 |
9.5 |
|
42 |
53.0 |
4.2 |
130 |
141.0 |
4.2 |
330 |
351.0 |
8.1 |
800 |
828.0 |
9.5 |
|
45 |
56.0 |
4.2 |
140 |
151.0 |
4.2 |
340 |
361.0 |
8.1 |
1000 |
1028.0 |
9.5 |
Nota: le specifiche richieste non sono elencate qui; si prega di contattare la nostra azienda. Offriamo prodotti con un diametro massimo di 2800 mm.





Istruzioni complete per l'installazione e l'uso
Rui Chen sa che l'installazione corretta è il primo prerequisito per garantire la piena prestazione delle guarnizioni, ti forniremo anche una guida completa sull'uso di ciascun prodotto, in particolare parti personalizzate complesse o non standard, ci sarà una guida grafica dettagliata per l'installazione.
Queste guide sono accompagnate da diagrammi passo-passo ad alta definizione e istruzioni testuali che mostrano chiaramente i punti di ispezione prima dell'installazione, i passaggi corretti di installazione, gli strumenti necessari e le operazioni errate da evitare, come se i nostri ingegneri fossero sul posto. Inoltre, per assemblaggi o sistemi complessi, creiamo video tutorial professionali che consentono ai vostri operatori di padroneggiare in modo intuitivo e veloce tecniche e precauzioni di installazione attraverso dimostrazioni dinamiche, riducendo notevolmente il rischio di guasti precoci dovuti a un'installazione non corretta.
Indirizzo
No.1 Ruichen Road, parco industriale di Dongliuting, distretto di Chengyang, città di Qingdao, provincia di Shandong, Cina
tel