Qingdao Ruichen Sealing Technology Co., Ltd.
Qingdao Ruichen Sealing Technology Co., Ltd.
Prodotti
X

SPGO Ecco

Se stai cercando guarnizioni SPGO per applicazioni idrauliche e pneumatiche ad alta velocità, scegli Ruichen Seals come fornitore. Utilizziamo una combinazione di guarnizioni in PTFE modificato e O-ring. I nostri prodotti offrono un'eccellente tenuta, un attrito estremamente basso e un design compatto, che li rende particolarmente adatti per cilindri idraulici e pneumatici ad alta velocità.

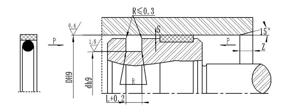
La tenuta SPGO è una combinazione di un anello di tenuta rettangolare in PTFE modificato e un O-ring come elemento di precarico. Offre un'eccellente tenuta, basso attrito e un ingombro compatto. È adatto per cilindri idraulici o pneumatici ad alta velocità.


Condizioni di lavoro applicabili (i valori limite non dovrebbero apparire contemporaneamente)

Pressione

Spazio massimo di estrusione

Velocità

Temperatura

Medio

<16 MPA

S<0,6 mm

<6 m/sec

-35~+110

Olio minerale (con gomma NBR)

<25 MPA

S<0,4 mm

-20~+200

Olio minerale (con gomma FKM)

<40 MPA

S<0,2 mm

-30~+100

Aria


Selezione dei materiali

1. Materiali O-ring disponibili: gomma nitrile-butadiene R01 (NBR), gomma fluorurata RO2 (FKM), ecc.

2. Materiale dell'anello di tenuta: Materiale standard: PTFE3; altri materiali disponibili: PTFE1, PTFE2 e PTFE4.

Esempio di ordine: RC66-D*d*L-PTFE3-R01 (diametro esterno*diametro interno*larghezza scanalatura) PTFE3, codice materiale R01




Tag caldi: SPGO Ecco
Invia richiesta
Informazioni di contatto
Ottieni prezzi competitivi, supporto tecnico e risposte veloci. Invia le tue specifiche a Ruichen per soluzioni sigillanti su misura. Campioni gratuiti disponibili.
X
Utilizziamo i cookie per offrirti una migliore esperienza di navigazione, analizzare il traffico del sito e personalizzare i contenuti. Utilizzando questo sito, accetti il ​​nostro utilizzo dei cookie. politica sulla riservatezza
Rifiutare Accettare