Qingdao Ruichen Sealing Technology Co., Ltd.
Qingdao Ruichen Sealing Technology Co., Ltd.
Prodotti
X

Anello tergicristallo

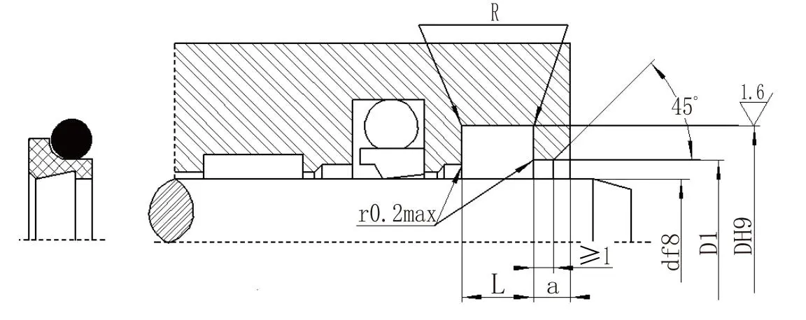
Il parapolvere combinato a doppio labbro lanciato da Ruichen Seal (un noto produttore e fornitore di guarnizioni per steli di pistone in Cina) è composto da un anello di tenuta in PTFE riempito e un O-ring. Dispone di protezione antipolvere bidirezionale e funzioni di compensazione automatica dell'usura, basso attrito, lunga durata e forte adattabilità ed è ampiamente utilizzato in vari scenari di movimento industriale come alternativo, oscillante e a spirale.

Prestazioni e applicazioni

La guarnizione raschiatore combinata a doppio labbro è una guarnizione raschiatore bidirezionale composta da un anello raschiatore a doppio labbro riempito in PTFE e un O-ring. L'O-ring fornisce il precarico, compensando l'usura dell'anello in PTFE. È adatto per movimenti alternativi, oscillanti o a spirale.


Condizioni operative

Pressione MPa

Temperatura °C

Velocità m/s

Medio

-

-35~+100 (O-ring corrispondente NBR)

6

Olio idraulico, emulsione, acqua, ecc.

-20~+200 (O-ring FKM corrispondente)


Esempio di ordinazione

Ordinare il modello RCF02-80-PTFE3-R01

RCF02 - Modello 80 - Diametro albero PTFE3 - PTFE modificato per uso generale RO1 - Codice materiale in gomma corrispondente

Nitrile (NBR) - R01, Fluorocarbonio (FKM) - RO2

Tabella dei parametri delle specifiche (possono essere forniti prodotti di qualsiasi dimensione all'interno dell'intervallo di parametri)

Gamma di diametri dell'albero d f8

Diametro della scanalatura D H9

Larghezza della scanalatura l+0.2

Diametro del foro aperto

D1H11

Larghezza del foro aperto a≥

Angoli arrotondati R ≤

Diametro del filo dell'O-ring

d0

4~11

d+4.8

3.7

d+1,5

2

0.4

1.80

12~64

d+6.8

5.0

d+1,5

2

0.7

2.65

65~250

d+8.8

6.0

d+1,5

3

1.0

3.55

251~420

d+12.2

8.4

d+2.0

4

1.5

5.30

421~650

d+16.0

11.0

d+2.0

4

1.5

7.00

651~1500

d+20.0

14.0

d+2,5

5

2.0

8.60


Tag caldi: Anello tergicristallo
Invia richiesta
Informazioni di contatto
Ottieni prezzi competitivi, supporto tecnico e risposte veloci. Invia le tue specifiche a Ruichen per soluzioni sigillanti su misura. Campioni gratuiti disponibili.
X
Utilizziamo i cookie per offrirti una migliore esperienza di navigazione, analizzare il traffico del sito e personalizzare i contenuti. Utilizzando questo sito, accetti il ​​nostro utilizzo dei cookie. politica sulla riservatezza
Rifiutare Accettare