Qingdao Ruichen Sealing Technology Co., Ltd.
Qingdao Ruichen Sealing Technology Co., Ltd.
Prodotti
X

Guarnizione tergicristallo GP6

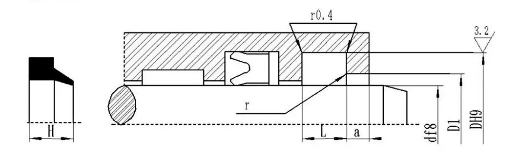
In qualità di produttore e fornitore leader di guarnizioni per steli di pistoni in Cina, l'anello parapolvere GP6 di Ruichen Seals è progettato specificamente per aste di pistoni di grande diametro. Realizzato in gomma nitrilica (NBR) (la gomma fluorurata (FKM) è opzionale per condizioni di alta temperatura), blocca efficacemente l'intrusione di sostanze inquinanti, ha un'eccellente resistenza all'usura e adattabilità ambientale e migliora significativamente l'affidabilità e la durata delle guarnizioni del sistema idraulico.

I raschiatori GP6 vengono utilizzati per impedire l'ingresso di contaminanti nei sistemi idraulici e di tenuta. Realizzati in NBR (gomma nitrilica) o FKM (gomma fluorurata) per applicazioni ad alta temperatura, vengono utilizzati principalmente per la tenuta antipolvere di steli di pistoni di grande diametro.


Pressione MPa

Temperatura °C

Velocità m/s

Medio

-

-35~+100 (NBR)

1

Olio idraulico, emulsione, acqua, ecc.

-20~+200 (FKM)


Metodo di marcatura GP6-70*80.6*5.3/7 Modello-d*D*L/H



Tag caldi: Guarnizione tergicristallo GP6
Invia richiesta
Informazioni di contatto
Ottieni prezzi competitivi, supporto tecnico e risposte veloci. Invia le tue specifiche a Ruichen per soluzioni sigillanti su misura. Campioni gratuiti disponibili.
X
We use cookies to offer you a better browsing experience, analyze site traffic and personalize content. By using this site, you agree to our use of cookies. Privacy Policy
Reject Accept