L'anello di contenimento viene utilizzato in combinazione con l'O-ring o l'anello a stella per evitare che l'anello di tenuta venga schiacciato nello spazio sul lato a bassa pressione sotto l'azione della pressione. Man mano che la pressione continua ad aumentare, l'anello di tenuta è danneggiato da "estrusione" e alla fine non riesce a sigillare. Se viene utilizzato un anello di sostegno, è possibile prevenire l '"estrusione" dell'anello di tenuta. Pertanto, l'anello di fissaggio è un supplemento all'anello di tenuta. Non è un sigillo stesso, ma aumenta la gamma di pressione di lavoro dell'anello di tenuta.
L'anello di contenimento viene utilizzato in combinazione con l'O-ring per impedirlo di "estrusione", proteggere efficacemente l'O-ring, aumentare la sua durata di servizio e consentire un divario di tenuta più grande, riducendo così i costi di elaborazione.
Funzionalità e applicazioni del prodotto:
Forma di anello di mantenimento e tipo di struttura
Dati tecnici
Pressione di lavoro: il sigillo statico può raggiungere circa 200 milioni (a seconda del materiale e del tipo di tenuta dell'anello di fissaggio), il sigillo alternativo può raggiungere circa 40 MPA. La rotazione di oscillazione/velocità lenta può raggiungere circa 15MPA.
Velocità: il reciproco e la rotazione possono raggiungere circa 2 m/s (a seconda del materiale).
Standard di ordinazione
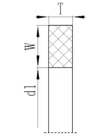
(1) Gli anelli di fissaggio della serie T01 sono composti da diametro interno D1, larghezza W e spessore T.
Esempio: T01-00356 D1: 3.56*W: 1.35*T: 1.23
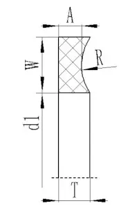
(2) Gli anelli di fissaggio della serie T02 sono composti da diametro interno D1, larghezza W e spessore A e T.
Esempio: T02-027 D1: 33.78*W: 1.35*A: 1.14*T: 1.24



Indirizzo
No.1 Ruichen Road, parco industriale di Dongliuting, distretto di Chengyang, città di Qingdao, provincia di Shandong, Cina
tel