L'anello di tenuta a forma di stella è un sigillo a quattro libbre con una forma simile a X, quindi è anche chiamato un anello X. È un miglioramento e un miglioramento sulla base dell'o-ring. Le sue dimensioni trasversali sono le stesse di quelle dell'o-ring dello standard americano AS568A e può sostanzialmente sostituire l'uso dell'o-ring.
Rispetto all'o-ring, l'anello di tenuta a forma di stella forma una cavità di lubrificazione tra le labbra di tenuta, che ha una resistenza di attrito più piccola e una piccola resistenza di partenza. Poiché il suo bordo flash si trova nella parte concava della sezione trasversale, l'effetto di tenuta è migliore. La sezione trasversale non circolare evita efficacemente il fenomeno di rotolamento durante il movimento alternativo.
La gamma di applicazioni dell'anello di tenuta a forma di stella è molto ampia. Scegli il materiale appropriato in base alla temperatura, alla pressione e al mezzo. Al fine di far adattarsi all'anello di tenuta a forma di stella all'applicazione data, dovrebbero essere considerati i vincoli reciproci tra tutti i parametri di lavoro. Quando si determina l'intervallo di applicazione, è necessario prendere in considerazione la temperatura di picco, la temperatura di lavoro continua e il ciclo operativo. In occasioni rotanti, deve essere considerato anche l'aumento della temperatura causato dal calore dell'attrito.
Questo anello di tenuta a forma di X è un elemento di tenuta auto-stretta. La forza di tenuta nello stato iniziale dipende dalla quantità di compressione e dalla durezza del materiale. All'aumentare della pressione del sistema, la deformazione di compressione dell'anello di tenuta aumenterà e la forza di tenuta totale aumenterà, formando un sigillo affidabile.
Funzionalità e applicazioni del prodotto:
Selezione di anello di tenuta a forma di stella
Sigillazione statica o movimento lineare alternativo
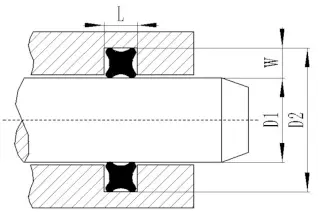
(1) Sigillatura del foro: il diametro interno dell'anello di tenuta a forma di stella dovrebbe essere compatibile con la scanalatura, o meno del 2% circa del diametro inferiore della scanalatura. Poiché la forza di pre-compressione generata dalla pre-compressione può impedire effettivamente l'anello di tenuta di torcere e rotolare.
(2) Sigillatura dell'albero: il diametro interno dell'anello di tenuta a forma di stella dovrebbe essere uguale o leggermente più grande del diametro esterno dell'albero, che può essere controllato entro l'1%. L'anello di tenuta sarà più facile da installare e avere una durata di servizio più lunga.
Sigillatura rotante
Il diametro interno dell'anello a forma di stella è circa 2 ~ 5% più grande del diametro dell'albero che sigilla. Poiché l'anello di tenuta genererà attrito e calore quando viene utilizzato in rotazione e l'elastomero si restringerà dopo il riscaldamento (effetto di riscaldamento Joule). Al fine di garantire la lubrificazione e il funzionamento affidabile dell'anello di tenuta, deve essere selezionato un anello a forma di stella con un diametro interno più grande di quanto il diametro dell'albero. Generalmente, un anello di tenuta con una sezione trasversale più piccola può soddisfare le esigenze della sigillatura statica e, al contrario, dovrebbe essere utilizzato un anello di tenuta con una sezione trasversale più grande per soddisfare i requisiti di sigillatura dinamica. Nel caso di ad alta pressione o di grande spazio di estrusione, è necessario selezionare un materiale di gomma con una maggiore durezza. Il modo migliore è aggiungere un anello di supporto PTFE per evitare danni da estrusione ad alta pressione.
Materiale
Il materiale è generalmente Shaw A70 Nitrile Burre NBR. Altri materiali possono fare riferimento ai materiali utilizzati per gli O-ring.
| Tabella 2-1 Parametri delle prestazioni | ||||
| Parametro tecnico | Sigillo dinamico | Sigillo statico | ||
| Movimento alternativo | Movimento rotazionale | |||
| Pressione di lavoro (MPA) | Con anello di sostegno | 30 | 15 | 40 |
| Senza trattenere l'anello | 5 | - | 5 | |
| Velocità (m/s) | 0.5 | 2.0 | - | |
| Temperatura (℃) | Occasioni generali: -30 ℃ ~+110 ℃ | |||
| Materiali speciali: -60 ℃ ~+200 ℃ | ||||
| Occasioni di rotazione: -30 ℃ ~+80 ℃ | ||||
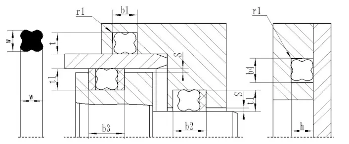
Design della scanalatura consigliata ad anello stellare
| Ring-X di sigillazione a forma di stella (American Standard AS568A) | |||||||||
| Guarnizione dell'asta del pistone (per albero) | Pistone Seal (Hole) | ||||||||
![]() |
![]() |
||||||||
| Modello di prodotto | Specifiche e dimensioni | Sigillo dell'asta | Sigillo del pistone | Larghezza dello slot |
|
||||
| Diametro interno dn | Diametro trasversale CS | D1 | D2 | D3 | D4 | L | W | ||
| AS001 AS002 AS003 |
0.74 1.07 1.42 |
1.02 1.27 1.52 |
|
|
|
|
|
|
|
| AS004 AS005 AS006 |
1.78 2.57 2.9 |
1.78 1.78 1.78 |
3 | 6.1 | 6 | 2.9 | 2 | 1.55 | |
| AS007 AS008 AS009 |
3.68 4.47 5.28 |
1.78 1.78 1.78 |
3.5 4.5 5 |
6.6 7.6 8.1 |
7 8 9 |
3.9 4.9 5.9 |
2 2 2 |
1.55 1.55 1.55 |
|
| AS010 AS011 AS012 |
6.07 7.65 9.25 |
1.78 1.78 1.78 |
6 8 9 |
9.1 11.1 12.1 |
10 11 13 |
6.9 7.9 9.9 |
2 2 2 |
1.55 1.55 1.55 |
|
| AS013 AS014 AS015 |
10.82 12.42 14 |
1.78 1.78 1.78 |
11 13 14 |
14.1 16.1 17.1 |
15 17 18 |
11.9 13.9 14.9 |
2 2 2 |
1.55 1.55 1.55 |
|
| AS016 AS017 AS018 |
15.6 17.17 18.77 |
1.78 1.78 1.78 |
16 17 19 |
19.1 20.1 22.1 |
20 21 23 |
16.9 17.9 19.9 |
2 2 2 |
1.55 1.55 1.55 |
|
| AS019 AS020 AS021 |
20.35 21.95 23.52 |
1.78 1.78 1.78 |
21 22 24 |
24.1 25.1 27.1 |
25 26 28 |
21.9 22.9 24.9 |
2 2 2 |
1.55 1.55 1.55 |
|
| AS022 AS023 AS024 |
25.12 26.7 28.3 |
1.78 1.78 1.78 |
26 27 29 |
29.1 30.1 32.1 |
30 31 33 |
26.9 27.9 29.9 |
2 2 2 |
1.55 1.55 1.55 |
|

Indirizzo
No.1 Ruichen Road, parco industriale di Dongliuting, distretto di Chengyang, città di Qingdao, provincia di Shandong, Cina
tel